Per utilizzare questa funzionalità di condivisione sui social network è necessario accettare i cookie della categoria 'Marketing'.
Incidenti sul lavoro: un metro cubo di terra
Un incidente mortale causato dal seppellimento per franamento di uno scavo. Come è successo? Come si sarebbe potuto evitare?
Condividiamo un caso di infortunio tratto dal sito dell’ATS Brianza, nell’ambito di una raccolta di eventi reali analizzati con finalità preventive. La diffusione di queste esperienze vuole contribuire a ridurre la probabilità che incidenti con dinamiche analoghe si verifichino nuovamente.Si invita a scaricare la scheda tecnica completa, disponibile al termine della pagina, per un'analisi più approfondita del caso. Pubblicità![ASPP - Aggiornamento 20 ore - Tutti i settori]() | Corso online di aggiornamento per ASPP di attività appartenenti a tutti i settori di attività ATECO 2007. Il corso costituisce credito formativo per ASPP, Docenti-formatori e Coordinatori per la sicurezza sul lavoro. |
Un metro cubo di terra
Tipo di infortunio: Seppellimento per franamento dello scavo
Lavorazione: Edile/riposizionamento della tubatura fognaria
Descrizione infortunio
Contesto
Dopo la realizzazione di una tubatura fognaria, la fase di collaudo faceva emergere degli errori di realizzazione. L’infortunio è avvenuto durante gli interventi di correzione, che consistevano nel riposizionare la tubatura con la corretta inclinazione, dopo aver eseguito nuovamente lo scavo a pochi mesi di distanza dal primo intervento. Per effettuare l’operazione, normalmente, il mezzo procede all’indietro, parallelamente alla direzione dello scavo, mantenendo i cingoli sul terreno non scavato; durante il secondo intervento, con il terreno verosimilmente ancora non compattato e stabilizzato, i cingoli del mezzo, largo quanto lo scavo stesso, esercitavano la pressione (peso del mezzo) esattamente sul ciglio dello scavo, compromettendo la stabilità delle pareti (vedi freccia in foto). È opportuno precisare che il giorno dell’infortunio i lavoratori avevano portato in cantiere i cartelli per la segnaletica stradale e l’escavatore mediante l’utilizzo di un camion/bisarca. Verso le ore 10:00 della stessa mattina, il Coordinatore per la Sicurezza in fase di Esecuzione e il Responsabile tecnico di cantiere avevano effettuato un sopralluogo. Le
operazioni di scavo non erano ancora iniziate in quanto si stava provvedendo soltanto a posizionare l’apposita segnaletica. Il coordinatore provvedeva a ricordare attraverso apposito verbale, l’obbligo di utilizzare le armature di sostegno per profondità di scavo maggiore di 1,50 metri nel momento in cui sarebbe stato eseguito l’intervento. Il CSE trasmetteva sia al datore di lavoro dell’impresa affidataria che al Tecnico di Cantiere il verbale di coordinamento circa due ore prima dell’evento infortunistico.
Dinamica incidente
L’infortunato, dopo aver provveduto all’estrazione di un tratto di tubo, entrava nello scavo e si accingeva a pulire il colletto del tubo stesso posizionato sul fondo dello stesso scavo. Nel corso di tale attività, una porzione di terreno del fianco della trincea si è improvvisamente distaccata, provocando un repentino franamento che ha investito completamente il lavoratore, seppellendolo. Lo scavo in trincea era stato eseguito nel primo pomeriggio (dopo la ripresa dalla pausa pranzo), era lungo circa 8/10 metri, largo circa 1,40 metri e profondo 2 metri. Nel tratto franato di terreno la larghezza risultava di circa 2,20 metri.
Contatto: Investimento e seppellimento per franamento del terreno.
Esito trauma:
- Compressione/schiacciamento del torace
- Esito mortale
Perché è avvenuto l’infortunio?
Determinanti dell’evento:
- Scavo a sezione obbligata con profondità > 1,5 m e privo di inclinazione atta a garantire la stabilità del terreno e ad evitare franamenti;
- il terreno, scavato e ripristinato a livello pochi mesi prima del secondo intervento, non poteva considerarsi compattato e stabilizzato. La stabilità del terreno, non ancora assestato, è stata compromessa dal passaggio dell’escavatore con entrambi i cingoli sul ciglio dello scavo;
- mancata adozione di armature di sostegno contro il franamento dello scavo;
- accumulo improprio del materiale di scavo/risulta sul ciglio dello scavo.
Criticità organizzative alla base dell’evento: - Il datore di lavoro non ha attuato quanto previsto nel Piano di Sicurezza e Coordinamento redatto dal Coordinatore per la Sicurezza in Progettazione, che conteneva le idonee misure di prevenzione e protezione contro i rischi di franamento e seppellimento durante la
realizzazione di scavi;
- il datore di lavoro non ha attuato le misure di prevenzione e protezione contro i rischi di seppellimento e franamento durante gli scavi, previste all’interno del proprio Piano Operativo di Sicurezza;
- mancata vigilanza sul pericoloso deposito del materiale di risulta sul ciglio dello scavo e sulla mancata realizzazione delle necessarie armature di sostegno.
Come prevenire:
- Verificare nel piano di sicurezza e coordinamento l’analisi preventiva effettuata dal coordinatore della sicurezza in progettazione, contenente le prescrizioni finalizzate a prevenire o a ridurre i rischi legati alla presenza e alla esecuzione di scavi mediante mezzi meccanici.
- Provvedere alla realizzazione di adeguate armature di sostegno delle pareti dello scavo, in tutti i casi in cui la consistenza del terreno e la relativa stabilità sia dubbia nonché quando la profondità superi 1,50 metri.
- Se possibile, acquisire aree di maggiori dimensioni per garantire il deposito del materiale in zone sicure;
- Divieto di costituire depositi di materiali sul ciglio degli scavi; qualora ciò sia necessario per le condizioni di lavoro, provvedere alle ulteriori e necessarie puntellature; le tavole di rivestimento delle pareti devono sporgere dai bordi degli scavi di almeno 30 cm e comunque in funzione della quantità del materiale depositato.
![]()
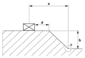
Come regola generale ricordarsi che:
- in terreni non fortificati la distanza di sicurezza (a) deve ammontare al doppio della profondità dello scavo (b): a = 2b;
- in terreni naturali e solidi la distanza di sicurezza (a) deve corrispondere alla profondità della fossa (b): a = b;
Ad oggi, nessun commento è ancora stato inserito.